小里帮忙|20万全包装修问题频出!记者探访发现公司已关门
12月2日,安康市高新区富家河社区住户郭先生向华商报·二三里资讯反映,其全包装修房屋在保修期内出现多处质量问题,装修公司却联系不上。
新房入住保修期,装修问题频出
据郭先生介绍,2023年8月,他与陕西高颜建筑装饰工程设计有限公司签订20万元的全包装修合同,约定工期四个月,但直到2024年1月还在施工。由于施工延期,2024年3月,郭先生将对方诉至法院,获判赔偿2万元,该判决主要针对工期延误问题。

今年10月,郭先生在打扫时又发现新的问题:三个房间门的实际尺寸(4cm、230cm、80cm)均与合同约定(4.5cm、210cm、81cm)不符。郭先生称:“此前反映的洗浴台品牌不符问题也未解决,合同约定为欧派一体式,实际安装为恒洁分体式,客厅地板砖也存在裂缝,现在想联系装修公司解决,然而电话一直打不通。”

高新市场监管:公司已失联,建议通过司法途径维权
根据合同地址,记者找到陕西高颜建筑装饰工程设计有限公司,只见大门紧闭,室内仅剩宣传广告,办公设备已搬空。记者多次拨打合同上的公司电话及相关负责人手机,均处于停机状态。


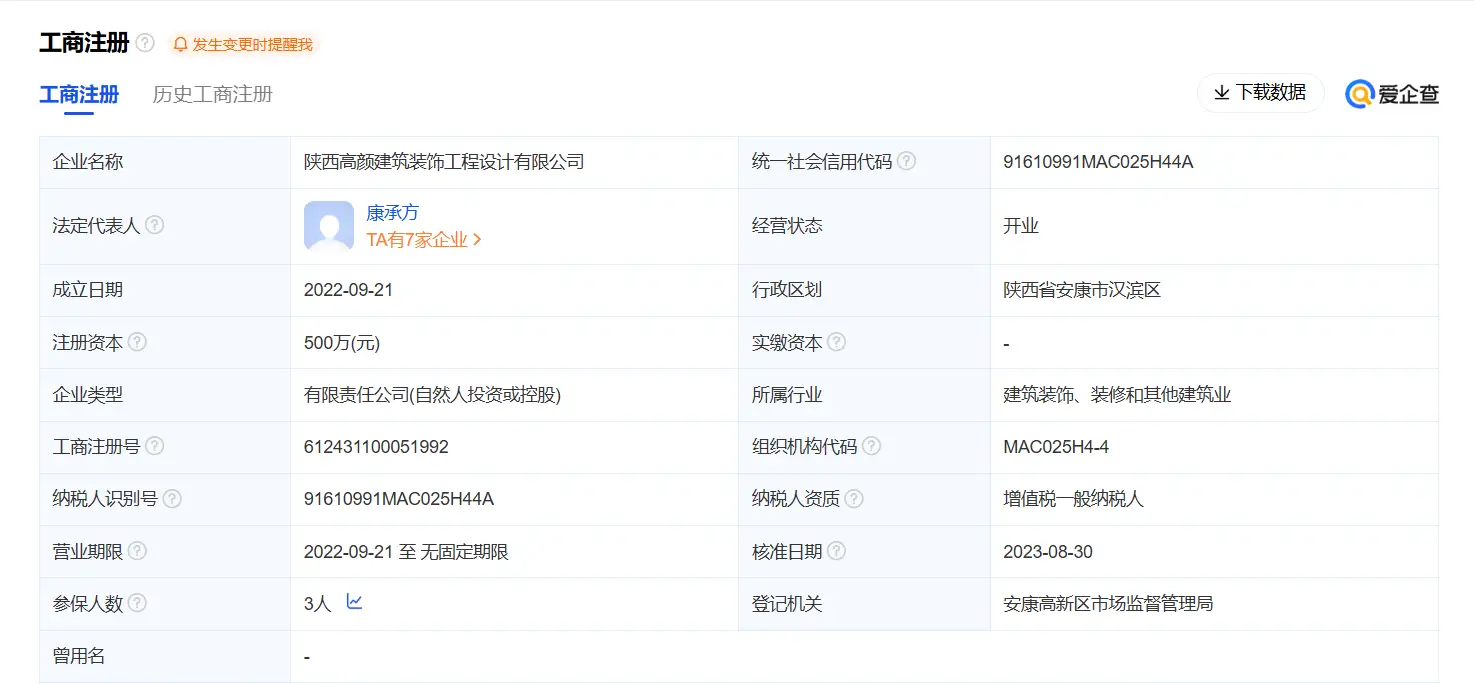
记者通过查询,网上信息显示该公司成立于2022年9月21日,经营状态为开业,法人为康某,登记机关为安康高新区市场监督管理局。
就此,记者采访到安康高新区市场监督管理局,工作人员表示,此前有接到相关投诉,执法人员经实地核查,确认公司已经没有在开了,目前监管局仍在想方设法地联系。“如果说最终联系不上的话,我们会根据程序,将该公司列入异常处理。”
工作人员表示,若无法通过市场监管局协调解决,建议相关权益人依法通过司法途径维权。
律师说法:关门不影响维权!谨记装修避坑要点
陕西恒达律师事务所高级合伙人、知名公益律师赵良善认为:
装修公司关门不影响维权,郭先生可凭装修合同、门尺寸不符的测量记录、品牌替换的证据(如恒洁产品照片与欧派合同约定对比)、地板裂缝检测报告等,起诉陕西高颜建筑装饰工程设计有限公司,要求承担维修、返工费用或赔偿损失(20万全包对应的不合格项目折价)。
若判决生效后公司无财产可供执行,可申请将公司及法定代表人、股东列入失信被执行人名单,限制高消费;同时核查公司是否存在股东出资不实、抽逃资金等情况,要求股东在未出资范围内承担连带责任。
与此同时,郭先生还应配合高新区市监局调查,向高新区市监局补充提交证据,跟进公司异常名录公示进展,后续可凭监管部门出具的核查记录(公司失联、搬离)作为诉讼中的关键证据。

赵良善提醒,业主装修避坑核心注意事项如下:
1、签约前严审主体
核实工商登记信息:通过国家企业信用信息公示系统查询,确认经营范围包含装修施工,避免与“皮包公司”合作。
考察实体与资质:优先选择有固定经营场所、资质齐全(如建筑业企业资质证书)的公司。
2、合同条款细化到“可落地”
明确材料细节:在合同中明确材料品牌、型号、规格(如“欧派一体式洗浴台,型号XXX”),建议附材料样品或照片。
约定误差与违约:约定尺寸误差范围(如“门尺寸偏差不超过0.3cm”),并写明违约后果(如“尺寸不符需无条件返工,承担延期违约金”)。
付款绑定施工节点:付款方式应与进度挂钩(如“预付款不超过30%,竣工验收后付清尾款”)。
3、履约过程注重留存全证据
材料进场核对:每次材料进场拍照核对品牌型号,隐蔽工程(水电、墙面基层)完工后须签字确认。
问题沟通书面化:发现质量问题及时通过微信、邮件、书面函件等书面形式通知公司,并留存沟通记录。
拒绝口头承诺:所有变更事项均需签订补充协议。
华商报记者 吴宁 编辑 李晨晨
精彩推荐
【飞阅陕西】带你飞阅三秦大地,这里是你的云端旅行向导
2026-11-30
“老李,就去二一五医院全科,那里真的不一样”
2026-05-06
关中华中实现半日达!西十高铁进入开通前最后冲刺阶段
2026-05-06
宁强“五一”假期文旅活动热力足消费旺
2026-05-06
新质赋能南关,工业上楼拓发展新维度
2026-05-06
以花为名,感恩母爱——乖仔鲜花2026母亲节鲜花预订开始啦
2026-05-06
顺风车司机高速智驾睡觉打呼噜 运营平台:监管不到位,默认不许用智驾
2026-05-06
杨程:打通进场的“第一道闸门”
2026-05-06
五一假期,延安牡丹园人气拉满
2026-05-04
房地产智造时代,万科图纸大模型已成为行业级应用
2026-05-04
深耕餐饮十五余年,倾力传承洛河川腌猪肉,只为让更多人认识这道非遗美味
2026-05-04
延安宝藏老店,十年腌肉店获评十大特色店,多种中草药匠心腌制
2026-05-04
“一路生花”逐油二十载 奋进新征程
2026-05-03
西安音乐学院新时代文艺轻骑兵惠民演出走进石泉
2026-05-03
被牡丹园十二花仙美到了春日限定舞蹈一眼沦陷
2026-05-03
长效生长激素治疗ISS患儿起始剂量应高度个体化,金赛增筑牢治疗根基
2026-05-03
第二代腾势D9重磅登陆西安五一车展
2026-05-02
东北妹子赞叹西安火车站陈列文物,直言“不愧是西安 就是趁这个啊”
2026-05-02
博主在异国他乡看到比亚迪西安号 这自豪感瞬间拉满了!
2026-05-02
文脉焕新、雅韵东方-西安东方大酒店深度融合传统根脉,打造沉浸式文化体验
2026-05-02
坚持四端发力 推进四链融合 永寿:全力打造全国槐花蜜产业高质量发展标杆
2026-05-02
宠物餐厅店主表示也超馋狗狗食物
2026-05-02
喜报!陕西省精神卫生中心·西安市精神卫生中心荣获2026年陕西省五一劳动奖状
2026-05-02
青春在逆行中淬火 ——记全国“五一劳动奖章”获得者国家矿山应急救援 陕煤神南队特勤中队四小队小队长张义
2026-05-02
热度爆棚!五一儿童健康公益行动过半 全省超1000家庭奔赴家门口三甲服务获全民点赞
2026-05-02
西安65岁以上老年人免费乘坐公交车
2026-05-01
陕西成德书院大讲堂 史星文:从《书法写我》到《卧雪庐漫笔》
2026-05-01
陕西成德书院举办《艺文兼修》公益书法大讲堂
2026-05-01
渭南大荔一对夫妻种油桃30年 心态豁达坦言种地不算账 “种地是事业,赔钱了还要种下去”
2026-05-01
原来温棚油桃能摘两茬 熟透后通体全红、口感紧实脆爽 想吃大荔油桃再等一周哦
2026-05-01
渭南大荔油桃新鲜上市 ,脆甜无酸味,每斤6.5-7元价格比往年略低
2026-05-01
西安高新区企业携手发起“数据基础设施技术社群”
2026-05-01
暖心服务进社区 便民服务零距离 鱼化寨街道云臻社区嵌入式便民集市温情启幕
2026-05-01
比亚迪大唐EV西安开启预售,25万起;全新海狮05同步热销,9.79万起
2026-05-01
陕西省人民政府发布一批人事任免通知
2026-04-30
泡馍味很浓的簪花郎小哥哥喊你来玩,受到关注很感激,平时就喜欢说陕西话
2026-04-30
凭实力圈粉!茯茶飘香“市长对话”现场
2026-04-30
织密交通网赋能高质量发展 丝路科学城两条新道路将于“五一”正式通车
2026-04-30
靖边宇文路社区开展“五一”节前安全宣传排查专项行动
2026-04-30
“农民记者”奥增业 一纸笔墨载时光
2026-04-30
